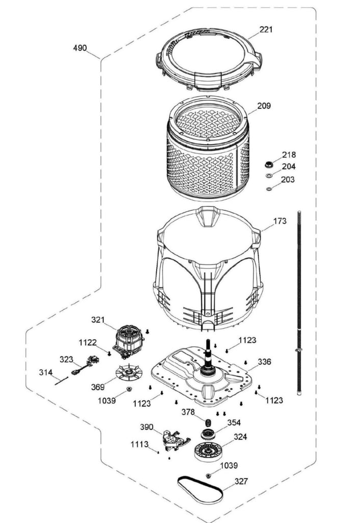
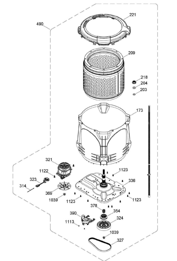
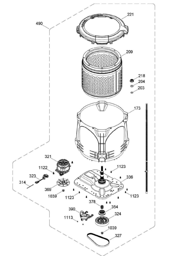
WW01A00815 Washer Kit Subwasher (replaces WW01A00736)
WW01A00815 Washer Kit Subwasher (replaces WW01A00736) - WW01A00815 is backordered and will ship as soon as it is back in stock.
📌Business Account Login
📌Business Account Login
We now offer wholesale membership.
Sign in
Save Money OEM vs XPart Look for New Buying Options!



